產品概述
CDL型不銹鋼沖壓多級離心泵該系列是本廠集汽車工業的冷拉擠壓技術與凸焊接技術之工藝為一體的立體泵,采用丹麥先進制泵技術制造而成,該系列水力模型先進,高效節能.泵內部葉采用不銹鋼沖壓成形,流道光滑,避免產生二次污染.軸封采用耐磨機械密封,無泄漏.電機采用Y2鉛外殼,進口軸承,絕緣等級F級.其整體及其零件互換性強。
產品特點
全系列分為8種規格,。CDLF立式多級不銹鋼離心泵是泵運轉平穩.低噪音,整機質量可靠,外形美觀,體積小,重量輕,運行安裝方便,是理想的綠色,環保,節能水泵. 流量2-80m3/h,出口壓力2.4Mpa,溫度-20℃~150℃
產品用途
適用于冷熱清潔,非易燃易爆,不含固體顆粒或纖維的液體,如醫藥,食品,飲料,鍋爐補水,環保水處理,生活水增壓,工業循環系統及加工系統等介質輸送。
|
型號
|
流量
|
揚程
(m) |
效率
(%) |
轉速
(r/min) |
功率
(KW) |
汽蝕余量
(NPSH)r |
高度
(mm) |
重量
(Kg) |
|
|
m3/h
|
L/S
|
||||||||
|
25QDLF2-20
|
2
|
0.56
|
15
|
46
|
2900
|
0.37
|
1.8
|
486
|
20
|
|
25QDLF2-30
|
2
|
0.56
|
22
|
46
|
2900
|
0.37
|
1.8
|
504
|
22.8
|
|
25QDLF2-40
|
2
|
0.56
|
30
|
46
|
2900
|
0.55
|
1.8
|
522
|
23.6
|
|
25QDLF2-50
|
2
|
0.56
|
37
|
46
|
2900
|
0.55
|
1.8
|
540
|
20
|
|
25QDLF2-60
|
2
|
0.56
|
45
|
46
|
2900
|
0.75
|
1.8
|
558
|
20
|
|
25QDLF2-70
|
2
|
0.56
|
52
|
46
|
2900
|
0.75
|
1.8
|
576
|
25
|
|
25QDLF2-80
|
2
|
0.56
|
60
|
46
|
2900
|
1.1
|
1.8
|
594
|
25
|
|
25QDLF2-90
|
2
|
0.56
|
67
|
46
|
2900
|
1.1
|
1.8
|
612
|
25
|
|
25QDLF2-100
|
2
|
0.56
|
75
|
46
|
2900
|
1.1
|
1.8
|
630
|
30
|
|
25QDLF2-110
|
2
|
0.56
|
82
|
46
|
2900
|
1.1
|
1.8
|
648
|
30
|
|
25QDLF2-120
|
2
|
0.56
|
90
|
46
|
2900
|
1.5
|
1.8
|
721
|
30
|
|
25QDLF2-130
|
2
|
0.56
|
97
|
46
|
2900
|
1.5
|
1.8
|
739
|
35
|
|
25QDLF2-140
|
2
|
0.56
|
105
|
46
|
2900
|
1.5
|
1.8
|
757
|
35
|
|
25QDLF2-150
|
2
|
0.56
|
112
|
46
|
2900
|
1.5
|
1.8
|
775
|
35
|
|
25QDLF2-160
|
2
|
0.56
|
120
|
46
|
2900
|
1.5
|
1.8
|
793
|
35
|
|
25QDLF2-170
|
2
|
0.56
|
127
|
46
|
2900
|
1.5
|
1.8
|
811
|
40
|
|
25QDLF2-180
|
2
|
0.56
|
135
|
46
|
2900
|
2.2
|
1.8
|
829
|
40
|
|
25QDLF2-190
|
2
|
0.56
|
142
|
46
|
2900
|
2.2
|
1.8
|
847
|
40
|
|
25QDLF2-200
|
2
|
0.56
|
150
|
46
|
2900
|
2.2
|
1.8
|
865
|
40
|
|
25QDLF2-210
|
2
|
0.56
|
157
|
46
|
2900
|
2.2
|
1.8
|
883
|
40
|
|
25QDLF2-220
|
2
|
0.56
|
165
|
46
|
2900
|
2.2
|
1.8
|
901
|
45
|
|
25QDLF2-230
|
2
|
0.56
|
172
|
46
|
2900
|
3
|
1.8
|
989
|
45
|
|
25QDLF2-240
|
2
|
0.56
|
180
|
46
|
2900
|
3
|
1.8
|
1007
|
45
|
|
25QDLF2-250
|
2
|
0.56
|
187
|
46
|
2900
|
3
|
1.8
|
1025
|
50
|
|
25QDLF2-260
|
2
|
0.56
|
195
|
46
|
2900
|
3
|
1.8
|
1043
|
50
|
|
32QDLF4-20
|
4
|
1.11
|
16
|
59
|
2900
|
0.37
|
1.8
|
501
|
20
|
|
32QDLF4-30
|
4
|
1.11
|
24
|
59
|
2900
|
0.55
|
1.8
|
528
|
20
|
|
32QDLF4-40
|
4
|
1.11
|
32
|
59
|
2900
|
0.75
|
1.8
|
555
|
20
|
|
32QDLF4-50
|
4
|
1.11
|
40
|
59
|
2900
|
1.1
|
1.8
|
582
|
20
|
|
32QDLF4-60
|
4
|
1.11
|
48
|
59
|
2900
|
1.1
|
1.8
|
609
|
20
|
|
32QDLF4-70
|
4
|
1.11
|
56
|
59
|
2900
|
1.5
|
1.8
|
691
|
25 |
|
32QDLF4-80
|
4
|
1.11
|
64
|
59
|
2900
|
1.5
|
1.8
|
718
|
25 |
|
32QDLF4-90
|
4
|
1.11
|
72
|
59
|
2900
|
2.2
|
1.8
|
745
|
30
|
|
32QDLF4-100
|
4
|
1.11
|
80
|
59
|
2900
|
2.2
|
1.8
|
772
|
30
|
|
32QDLF4-110
|
4
|
1.11
|
88
|
59
|
2900
|
2.2
|
1.8
|
799
|
30
|
|
32QDLF4-120
|
4
|
1.11
|
96
|
59
|
2900
|
2.2
|
1.8
|
826
|
30
|
|
32QDLF4-130
|
4
|
1.11
|
104
|
59
|
2900
|
3
|
1.8
|
923
|
35
|
|
32QDLF4-140
|
4
|
1.11
|
112
|
59
|
2900
|
3
|
1.8
|
950
|
35
|
|
32QDLF4-150
|
4
|
1.11
|
120
|
59
|
2900
|
3
|
1.8
|
977
|
46.5
|
|
32QDLF4-160
|
4
|
1.11
|
128
|
59
|
2900
|
3
|
1.8
|
1004
|
35
|
|
32QDLF4-170
|
4
|
1.11
|
136
|
59
|
2900
|
4
|
1.8
|
1066
|
40
|
|
32QDLF4-180
|
4
|
1.11
|
144
|
59
|
2900
|
4
|
1.8
|
1093
|
40
|
|
32QDLF4-190
|
4
|
1.11
|
152
|
59
|
2900
|
4
|
1.8
|
1120
|
40
|
|
32QDLF4-200
|
4
|
1.11
|
160
|
59
|
2900
|
4
|
1.8
|
1147
|
40
|
|
32QDLF4-210
|
4
|
1.11
|
168
|
59
|
2900
|
4
|
1.8
|
1174
|
45
|
|
32QDLF4-220
|
4
|
1.11
|
176
|
59
|
2900
|
4
|
1.8
|
1201
|
45
|
|
40QDLF8-20
|
8
|
2.22
|
18
|
64
|
2900
|
0.75
|
2.3
|
595
|
25
|
|
40QDLF8-30
|
8
|
2.22
|
27
|
64
|
2900
|
1.1
|
2.3
|
625
|
30
|
|
40QDLF8-40
|
8
|
2.22
|
36
|
64
|
2900
|
1.5
|
2.3
|
710
|
30
|
|
40QDLF8-50
|
8
|
2.22
|
45
|
64
|
2900
|
2.2
|
2.3
|
740
|
40
|
|
40QDLF8-60
|
8
|
2.22
|
54
|
64
|
2900
|
2.2
|
2.3
|
770
|
40
|
|
40QDLF8-70
|
8
|
2.22
|
63
|
64
|
2900
|
3
|
2.3
|
870
|
45
|
|
40QDLF8-80
|
8
|
2.22
|
72
|
64
|
2900
|
3
|
2.3
|
900
|
45
|
|
40QDLF8-90
|
8
|
2.22
|
81
|
64
|
2900
|
4
|
2.3
|
965
|
55
|
|
40QDLF8-100
|
8
|
2.22
|
90
|
64
|
2900
|
4
|
2.3
|
995
|
55
|
|
40QDLF8-110
|
8
|
2.22
|
99
|
64
|
2900
|
4
|
2.3
|
1025
|
55
|
|
40QDLF8-120
|
8
|
2.22
|
108
|
64
|
2900
|
4
|
2.3
|
1055
|
55
|
|
40QDLF8-130
|
8
|
2.22
|
117
|
64
|
2900
|
5.5
|
2.3
|
1125
|
80
|
|
40QDLF8-140
|
8
|
2.22
|
126
|
64
|
2900
|
5.5
|
2.3
|
1155
|
80
|
|
40QDLF8-150
|
8
|
2.22
|
135
|
64
|
2900
|
5.5
|
2.3
|
1185
|
80
|
|
40QDLF8-160
|
8
|
2.22
|
144
|
64
|
2900
|
5.5
|
2.3
|
1215
|
80
|
|
40QDLF8-170
|
8
|
2.22
|
153
|
64
|
2900
|
7.5
|
2.3
|
1245
|
86
|
|
40QDLF8-180
|
8
|
2.22
|
162
|
64
|
2900
|
7.5
|
2.3
|
1275
|
90
|
|
40QDLF8-190
|
8
|
2.22
|
171
|
64
|
2900
|
7.5
|
2.3
|
1305
|
90
|
|
40QDLF8-200
|
8
|
2.22
|
180
|
64
|
2900
|
7.5
|
2.3
|
1335
|
95
|
|
50QDLF16-20
|
16
|
4.44
|
22
|
71
|
2900
|
2.2
|
4.2
|
680
|
40
|
|
50QDLF16-30
|
16
|
4.44
|
34
|
71
|
2900
|
3
|
4.2
|
795
|
50
|
|
50QDLF16-40
|
16
|
4.44
|
46
|
71
|
2900
|
4
|
4.2
|
875
|
55
|
|
50QDLF16-50
|
16
|
4.44
|
58
|
71
|
2900
|
5.5
|
4.2
|
960
|
70
|
|
50QDLF16-60
|
16
|
4.44
|
70
|
71
|
2900
|
5.5
|
4.2
|
1005
|
75
|
|
50QDLF16-70
|
16
|
4.44
|
82
|
71
|
2900
|
7.5
|
4.2
|
1050
|
80
|
|
50QDLF16-80
|
16
|
4.44
|
94
|
71
|
2900
|
7.5
|
4.2
|
1095
|
80
|
|
50QDLF16-90
|
16
|
4.44
|
106
|
71
|
2900
|
11
|
4.2
|
1290
|
140
|
|
50QDLF16-100
|
16
|
4.44
|
118
|
71
|
2900
|
11
|
4.2
|
1335
|
140
|
|
50QDLF16-110
|
16
|
4.44
|
130
|
71
|
2900
|
11
|
4.2
|
1380
|
145
|
|
50QDLF16-120
|
16
|
4.44
|
142
|
71
|
2900
|
11
|
4.2
|
1425
|
145
|
|
50QDLF16-130
|
16
|
4.44
|
154
|
71
|
2900
|
15
|
4.2
|
1470
|
165
|
|
50QDLF16-140
|
16
|
4.44
|
166
|
71
|
2900
|
15
|
4.2
|
1515
|
165
|
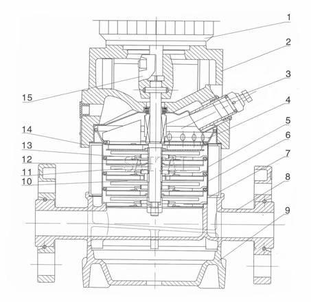
結構圖


ISG單級單吸立式離心泵
ISW臥式離心泵
FB1型系列單級單吸全不銹鋼耐腐蝕離心泵
PBG型屏蔽式離心泵
S型單級雙吸離心泵