產品概述
JYWQ系列自動攪勻排污泵是在普通型排污泵的基礎上采用自動攪拌裝置,該裝置隨電機軸旋轉,產生極強的攪拌力,將污水池內的沉積物攪拌成懸浮物,吸入泵內排出,提高了泵的防堵、排污能力,一次性完成了排水、清污、除淤,節約了運行成本,是具有明顯的先進性和實用性的環保產品。
產品用途
1、工廠、商業嚴重污染廢水的排放。
2、城市污水處理、醫院、賓館的排水系統。
3、住宅區的污水排水站。
4、人防系統排水站、自來水廠的給水裝置。
5、市政工程、建筑工地。
6、勘探、礦山、發電廠配套附機。
7、農村沼氣池、農田灌溉、河塘清淤。
結構特點
1、采用獨特的雙流道無堵塞葉輪結構,提高污水污物的過流能力和排污能力
2、自動攪拌裝置,產生極強的攪拌力,將池內的沉淀物攪拌成懸浮物后吸入葉輪排出,達到清淤的作用。
3、隔板將底座一分為二,攪拌與進水互不影響。
4、機械密封為雙端面機械密封,長期處于油室中,保證水泵安全可靠地運行。
5、副葉輪結構的流體動力密封、既有輔助密封作用,從而保護機械密封,又平衡軸向力,延長軸承的使用壽命。
6、泵接線腔內設有漏水檢測探頭,出現漏水時,探頭發出信號,控制系統對泵實施保護。本公司可配全自動安全保護控制柜。
7、電機定子采用B級和F級絕緣,內設熱保護器,當電機過載發熱,保護器及時作出動作,對泵和電機實施絕對的保護。
8、油室內裝有油水探頭,當機械密封損壞后,水進入油室,探頭發出信號,由控制系統對水泵實施保護。
9、JPW帶內循環冷卻系統,能保證水泵在水池低水位正常工作。
| 序號 | 型 號 | 排出口徑 (mm) |
流 量 (m3/h) |
揚 程 (m) |
攪拌直徑 (mm) |
轉 速 (r/min) |
功率 (KW) |
效率 (%) |
自動耦合器 |
| 1 | 50-12-15-1500-1.5 | 50 | 12 | 15 | 1200 | 2900 | 1.5 | 48 | GAK-50 |
| 2 | 50-20-7-1200-1.1 | 50 | 20 | 7 | 1200 | 2900 | 1.1 | 62 | GAK-50 |
| 3 | 50-10-10-1200-1.1 | 50 | 10 | 10 | 1200 | 2900 | 1.1 | 56 | GAK-50 |
| 4 | 50-15-15-1200-2.2 | 50 | 15 | 15 | 1200 | 2900 | 2.2 | 51 | GAK-50 |
| 5 | 50-25-10-1200-2.2 | 50 | 25 | 10 | 1200 | 2900 | 2.2 | 65 | GAK-50 |
| 6 | 50-15-20-1200-2.2 | 50 | 15 | 20 | 1200 | 2900 | 2.2 | 56 | GAK-50 |
| 7 | 50-20-15-1500-2.2 | 50 | 20 | 15 | 1200 | 2900 | 2.2 | 56 | GAK-50 |
| 8 | 50-42-9-1200-3 | 50 | 42 | 9 | 1200 | 2900 | 3 | 56 | GAK-50 |
| 9 | 50-17-25-1200-3 | 50 | 17 | 25 | 1200 | 2900 | 3 | 56 | GAK-50 |
| 10 | 50-25-22-1200-4 | 50 | 25 | 22 | 1200 | 2900 | 4 | 62 | GAK-50 |
| 11 | 50-40-15-1400-4 | 50 | 40 | 15 | 1400 | 2900 | 4 | 70 | GAK-50 |
| 12 | 50-25-32-1600-5.5 | 50 | 25 | 32 | 1600 | 2900 | 5.5 | 52 | GAK-50 |
| 13 | 50-40-30-1600-7.5 | 50 | 40 | 30 | 1600 | 2900 | 7.5 | 68 | GAK-50 |
| 14 | 65-25-28-1400-4 | 65 | 25 | 15 | 1400 | 2900 | 3 | 65 | GAK-65 |
| 15 | 65-37-13-1400-3 | 65 | 37 | 13 | 1400 | 2900 | 3 | 62 | GAK-65 |
| 16 | 65-25-28-1400-4 | 65 | 25 | 28 | 1400 | 2900 | 4 | 60 | GAK-65 |
| 17 | 80-40-7-1600-2.2 | 80 | 10 | 7 | 1600 | 2900 | 2.2 | 54 | GAK-80 |
| 18 | 80-29-8-1600-2.2 | 80 | 29 | 8 | 1600 | 2900 | 2.2 | 54 | GAK-80 |
| 19 | 80-43-13-1600-4 | 80 | 43 | 13 | 1600 | 2900 | 4 | 63 | GAK-80 |
| 20 | 80-50-10-1600-3 | 80 | 50 | 10 | 1600 | 1450 | 3 | 76 | GAK-80 |
| 21 | 80-40-15-1600-4 | 80 | 40 | 15 | 1600 | 2900 | 4 | 70 | GAK-80 |
| 22 | 80-60-13-1600-4 | 80 | 60 | 13 | 1600 | 2900 | 4 | 70 | GAK-80 |
| 23 | 80-35-25-1600-5.5 | 80 | 35 | 25 | 1600 | 2900 | 5.5 | 64 | GAK-80 |
| 24 | 80-50-25-1600-7.5 | 80 | 50 | 25 | 1600 | 2900 | 7.5 | 70 | GAK-80 |
| 25 | 80-50-30-1600-7.5 | 80 | 50 | 30 | 1600 | 2900 | 7.5 | 70 | GAK-80 |
| 26 | 100-80-9-2000-4 | 100 | 80 | 9 | 2000 | 1450 | 4 | 62 | GAK-100 |
| 27 | 100-110-10-2000-5.5 | 100 | 110 | 10 | 2000 | 1450 | 5.5 | 71 | GAK-100 |
| 28 | 100-70-15-2000-5.5 | 100 | 70 | 15 | 2000 | 1450 | 5.5 | 71 | GAK-100 |
| 29 | 100-100-15-2000-7.5 | 100 | 100 | 15 | 2000 | 1450 | 7.5 | 73 | GAK-100 |
| 30 | 100-80-20-2000-7.5 | 100 | 80 | 20 | 2000 | 2900 | 7.5 | 71 | GAK-100 |
| 31 | 100-50-35-2000-11 | 100 | 20 | 35 | 2000 | 2900 | 11 | 68 | GAK-100 |
| 32 | 100-70-22-2000-7.5 | 100 | 70 | 22 | 2000 | 2900 | 7.5 | 70 | GAK-100 |
| 33 | 100-100-22-2000-15 | 100 | 100 | 22 | 2000 | 1450 | 15 | 61 | GAK-100 |
| 34 | 100-80-30-2000-15 | 100 | 80 | 30 | 2000 | 1450 | 15 | 67 | GAK-100 |
| 35 | 150-150-10-2000-7.5 | 150 | 150 | 10 | 2000 | 1450 | 7.5 | 75 | GAK-150 |
| 36 | 150-210-7-2500-7.5 | 150 | 210 | 7 | 2500 | 1450 | 7.5 | 78 | GAK-150 |
| 37 | 150-250-6-2500-7.5 | 150 | 250 | 6 | 2500 | 1450 | 7.5 | 79 | GAK-150 |
| 38 | 150-150-15-2500-11 | 150 | 150 | 15 | 2500 | 1450 | 11 | 79 | GAK-150 |
| 39 | 150-200-10-2500-15 | 150 | 200 | 10 | 2500 | 1450 | 15 | 73 | GAK-150 |
| 40 | 150-65-40-3200-18.5 | 150 | 65 | 40 | 3200 | 1450 | 18.5 | 58 | GAK-150 |
| 41 | 150-180-22-2600-18.5 | 150 | 180 | 22 | 2600 | 1450 | 18.5 | 75 | GAK-150 |
| 42 | 150-150-26-2600-18.5 | 150 | 150 | 26 | 2600 | 1450 | 18.5 | 72 | GAK-150 |
| 43 | 150-110-30-2600-18.5 | 150 | 110 | 30 | 2600 | 1450 | 18.5 | 72 | GAK-150 |
| 44 | 150-300-15-2600-22 | 150 | 300 | 15 | 2600 | 1450 | 22 | 76 | GAK-150 |
| 45 | 150-130-30-2600-22 | 150 | 130 | 30 | 2600 | 1450 | 22 | 70 | GAK-150 |
| 46 | 150-100-40-3000-30 | 150 | 100 | 40 | 3000 | 1450 | 30 | 64 | GAK-150 |
| 47 | 200-300-7-3000-11 | 200 | 300 | 7 | 3000 | 1450 | 11 | 75 | GAK-200 |
| 48 | 200-250-11-3000-15 | 200 | 250 | 11 | 3000 | 1450 | 15 | 72 | GAK-200 |
| 49 | 200-300-10-3000-15 | 200 | 300 | 10 | 3000 | 1450 | 15 | 75 | GAK-200 |
| 50 | 200-250-15-3000-18.5 | 200 | 250 | 15 | 3000 | 1450 | 18.5 | 72 | GAK-200 |
| 51 | 200-400-10-3000-22 | 200 | 400 | 10 | 3000 | 1450 | 22 | 75 | GAK-200 |
| 52 | 200-200-20-3000-22 | 200 | 200 | 20 | 3000 | 1450 | 22 | 73 | GAK-200 |
| 53 | 200-250-22-3000-30 | 200 | 250 | 22 | 3000 | 1450 | 30 | 73 | GAK-200 |
| 54 | 250-600-7-3000-22 | 250 | 600 | 7 | 3000 | 1450 | 22 | 78 | GAK-250 |
| 55 | 250-600-9-3000-30 | 250 | 600 | 9 | 3000 | 1450 | 30 | 78 | GAK-250 |
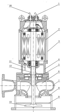
結構圖

|
1主電纜
|
|
2機殼
|
|
3內循環套
|
|
4油箱
|
|
5副葉輪
|
|
6葉輪
|
|
7泵體
|
|
8底座
|
|
9隔板
|
|
10控制電纜
|
|
11油水探頭
|
|
12機械密封
|
|
13攪拌件
|

ZW自吸式排污泵,自吸排污泵
GW管道式高效無堵塞排污泵
LW直立式高效無堵塞排污泵
WQ系列無堵塞固定式潛水排污泵